M5Stack Fire
Product Images

Description
M5Stack FIRE Kit features an ESP32 Core, 16M Flash + 8M PSRAM, 9-Axis IMU sensor (6-Axis posture acceleration measurement + 3-Axis magnetic measurement), power management IC, speaker, microphone, and a 2 inch 320x240 LCD screen. The middle part is called M5GO base which provides a 500 mAh battery, M-BUS socket, LED bar and three more GROVE Ports. The bottom part is a charge table, which can be connected to the M5GO base via POGO pins.
GPIO Pinout
| Pin | Function |
|---|---|
| GPIO39 | Button A |
| GPIO38 | Button B |
| GPIO37 | Button C |
| GPIO34 | Microphone Pin |
| GPIO25 | Speaker Pin 1 |
| GPIO26 | Speaker Pin 2 |
| GPIO22 | GROVE A SCL |
| GPIO21 | GROVE A SDA |
| GPIO36 | GROVE B SCL |
| GPIO26 | GROVE B SDA |
| GPIO16 | GROVE C RXD |
| GPIO17 | GROVE C TXD |
| GPIO15 | SIG Pin |
MBus Pin Map

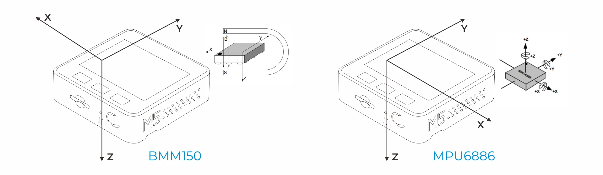
MPU6886 and BMM150

| I2C Address | Function |
|---|---|
| 0x68 | MPU6886 6-Axis MotionTracking Sensor |
| 0x10 | BMM150 3-Axis Geomagnetic Sensor |
IP5306 Power Management
M5Stack Fire uses a customized version of the IP5306 Power Management circuit Customized IP5306 Datasheet
| I2C Address | Function |
|---|---|
| 0x75 | IP5306 Power Management |
IP5306 Example Configuration
external_components:
- source:
type: git
url: https://github.com/ssieb/custom_components
components: [ip5306]
ip5306:
battery_level:
name: Battery Level
charger_connected:
id: connected
charge_full:
id: full
Using the IP5306 ESPHome Component by @ssieb
Wifi Issues due to GPIO15
When the M5GO bottom is attached, GPIO15 (side lights pin) needs to be setup as an output pin, otherwise Wifi will fail to connect frequently. If you do not want to setup the side lights component (to save memory, for example), you can use the following alternative instead:
output:
- platform: gpio
id: wifi_fix_output
pin: GPIO15
Source: Official M5Stack repo.
Example Configuration
substitutions:
friendly_name: "M5StackFire"
esphome:
name: m5stackfire
esp32:
board: m5stack-fire
wifi:
ssid: !secret wifi_ssid
password: !secret wifi_password
ap:
ssid: ${friendly_name} Fallback Hotspot
password: !secret wifi_password
captive_portal:
logger:
api:
ota:
# Power Management
external_components:
- source:
type: git
url: https://github.com/ssieb/custom_components
components: [ip5306]
i2c:
sda: 21
scl: 22
scan: True
ip5306:
battery_level:
name: ${friendly_name} Battery Percent
id: battery_percent
charger_connected:
name: ${friendly_name} Charger Connected
id: connected
charge_full:
name: ${friendly_name} Charge Full
id: full
# Buttons
binary_sensor:
- platform: gpio
id: M5_BtnA
pin:
number: 39
inverted: true
- platform: gpio
id: M5_BtnB
pin:
number: 38
inverted: true
- platform: gpio
id: M5_BtnC
pin:
number: 37
inverted: true
# Internal LEDS
output:
- platform: ledc # backlight output
pin: 32
id: gpio_32_backlight_pwm
light:
- platform: monochromatic # backlight
output: gpio_32_backlight_pwm
name: ${friendly_name} Backlight
id: backlight
restore_mode: ALWAYS_ON
- platform: esp32_rmt_led_strip
rgb_order: GRB
pin: GPIO15
num_leds: 10
rmt_channel: 1
chipset: SK6812
name: "${friendly_name} Side Light"
restore_mode: ALWAYS_OFF
id: side_light
default_transition_length: 0s
# Deep Sleep
deep_sleep:
id: deep_sleep_
wakeup_pin: 39
wakeup_pin_mode: INVERT_WAKEUP
# Microphone and Speaker
i2s_audio:
i2s_lrclk_pin: GPIO13
microphone:
- platform: i2s_audio
adc_pin: GPIO34
adc_type: internal
id: adc_mic
media_player:
- platform: i2s_audio
name: "${friendly_name} Internal Media Player"
id: media_player_out
dac_type: internal
mode: right
# Display
spi:
clk_pin: 18
mosi_pin: 23
miso_pin: 19
font:
- file: "gfonts://Roboto"
id: roboto
size: 20
display:
- platform: ili9xxx
model: M5STACK
cs_pin: 14
dc_pin: 27
reset_pin: 33
id: my_display
lambda: |-
it.print(80, 0, id(roboto), Color(255, 255, 255), TextAlign::TOP_CENTER, "M5Stack Fire Test");